项目名称:光影创新—AIGC赋能文旅摄影一体化服务数智升级
项目负责人及团队成员:
负责人:周燕辉
团队成员:陈钕熔、吴浩坚、易利晗
指导教师:陆道怀、张欣宇
产品或服务:
我们团队坚持以“高品质、高创意、高服务”三高原则,创新旅拍行业服务模式,自主创作旅拍服务体系、光影管理平台。通过最新的人工智能生成内容技术(AIGC)、大数据信息技术、AI智能终端,提升自有流量生产效率,赋能用户服务,为用户提供更优质的旅行体验。“AI创作平台”是旅拍体系的核心内容,由“AI全彩摄像头”、“光影视频管理平台”、“智能导游终端”共同构成。我们通过AI全彩摄像头捕捉游客在旅游过程中的精彩瞬间,素材上传到管理平台经过AI分析技术、AI云渲染引擎、视频场景编辑系统等处理,对上传的视频素材进行高度的分析和自动匹配,结合为景区定制化创作的模板库,生成高质量的旅拍视频。视频创作的过程中包括为景区定制的自媒体账号,为其加大宣传力度,打造景区独有IP。形成景区旅拍视频的“创、生、销”三位一体。
项目成果:
项目已落地天门山,为其打造集自然风光、文化体验、创意旅拍于一体的天门山商业拍摄服务,提升天门山游客体验,目前服务游客近500W人,提高旅拍收入占比35%,游客满意率高达99%,促进天门山商业拍摄数字化发展。
项目创新点及特色:
1.高清实时视频处理技术的优化与创新
在视频处理与安全管理系统中,高清实时视频处理是核心技术之一。本项目在这一领域进行了深度的优化与创新。通过引入先进的编码算法和高效的视频处理引擎,我们显著提升了系统对高清视频数据的处理能力,实现了更快速、更准确的视频压缩、编码和解码。这一创新点不仅保证了视频传输的实时性,还大大提高了视频画面的清晰度和细节呈现能力,为用户提供了更加优质的视觉体验。
2.智能化分析与预警功能的创新
传统的视频监控系统往往只能提供基础的录像和回放功能,而本项目在智能化分析与预警功能上进行了创新。通过集成先进的人工智能算法和深度学习技术,系统能够自动识别和分析视频中的异常事件,如人员聚集、车辆违规行驶等,并实时发出预警信息。这一创新点不仅提高了系统的智能化水平,还为用户提供了更加及时、准确的安全保障。
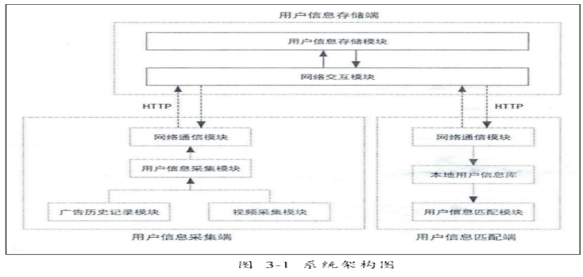
3.平台化、标准化的系统架构创新
本项目在系统架构上进行了平台化、标准化的创新设计。通过构建统一的平台架构,实现了资源的共享和高效利用;通过制定统一的标准和规范,促进了不同系统之间的互联互通和数据共享。这一创新点不仅提高了系统的可扩展性和可维护性,还为后续的功能扩展和系统集成提供了便利。
展示图片:

